欧美乱大交做爰xxxⅹ性av,免费永久A片无码专区,亚洲性虎av导航,免费高清自慰区,成全世界免费高清观看中国

防腐材料
固態去耦合器
您的位置: 網站首頁 > 產品中心 > 配套相關(guan) > 固態去耦(ou)合器

固態去耦合器

邦信公(gong)司生產的去(qu)耦合器采用(yong)固態(tai)技(ji)術非金(jin)屬殼體,能控制管(guan)道(dao)(dao)上交流(liu)雜散(san)電(dian)(dian)流(liu)或雷電(dian)(dian)流(liu)對(dui)(dui)埋(mai)地管(guan)道(dao)(dao)的影響,延長管(guan)道(dao)(dao)的使用(yong)壽命。同時,又能防(fang)止雜散(san)電(dian)(dian)流(liu)在(zai)管(guan)道(dao)(dao)上匯集(ji)后對(dui)(dui)人體的危害以及對(dui)(dui)通信線路的干擾。
咨詢熱線:13526613331

1.產(chan)品介紹(shao)

邦信公司生產的去耦合器采用固態技術非金屬殼體,能控制管道上交流雜散電流或雷電流對埋地管道的影響,延長管道的使用壽命。同時,又能防止雜散電流在管道上匯集后對人體的危害以及對通信線路的干擾。
作為直流隔離和交流耦合裝置,BX-SSD/EX-100用于防止陰極保護電流達到預定的閾值電壓,同時還能傳導感應的交流電。當電壓力圖超過閾值電壓時,SSD立即切換到短路模式,以提供過壓保護.當過電壓過去之后,又自動切換回到直流隔離模式。這樣的運行方式可以進行無數次,這通常是由于交流故障電流或雷電電流引起。SSD的標準閡值電壓為-2V/+2V。閾值電壓可以是absolute value電壓,或峰值電壓,在此電壓處切換發生,此電壓為跨于隔離器兩端的市流和交流峰值電壓之和。這使跨于SSD端子上的箝位電壓很低。
BX-SSD/EX-100固態去耦合器可用于危險的場合(2類2區)。
2、主要技術參數

序號

項目

參數

1

直(zhi)流啟動電(dian)壓(1mA)

-2V/+2V

2

沖擊通流(liu)容量(8/20?s)

100kA

3

穩態(tai)電流

45A

4

漏電流

≤15μA

5

故障電流 (AC-rms/工頻/30周波)

≥3500A

6

工作(zuo)溫(wen)度

-45~+60℃

7

防護等級

IP65

3、應用范圍
管道電位梯度墊(dian)(接地墊(dian))的去耦合
對設備進(jin)行過(guo)交(jiao)流故障、雷電和開關暫態過(guo)程的(de)電壓(ya)保(bao)護(如:絕緣接(jie)頭、絕緣法蘭(lan))
為了safe,用于不同的金(jin)屬間的去耦(ou)合,這些(xie)金(jin)屬在某種情(qing)況下會產生交流耦(ou)合。
在陰(yin)極(ji)保護系統中,電氣設備的交流接地和(he)直接隔離
為了減少交(jiao)流感應電壓的場

序(xu)號(hao)

試驗項目(mu)

試(shi)驗條件(jian)

試驗后檢(jian)驗項目

1

低溫工(gong)作試驗

GB/T2423.1-2001

檢測(ce)啟動(dong)電壓、絕緣(yuan)電阻(zu)和(he)外觀。

2

低溫儲存(cun)試(shi)驗

3

高(gao)溫工作試驗

GB/T2423.2-2001

4

高溫儲存(cun)試驗

5

恒定濕(shi)熱試(shi)驗

GB/T2423.3-1993

6

隨機(ji)振動試驗

GB/T2423.10-1995

檢測(ce)有無(wu)機械損傷、不見脫落;檢測(ce)啟(qi)動電壓(ya)、絕緣阻和外觀(guan)。

7

沖擊試驗(帶(dai)包裝)

GB/T2423.5-1995

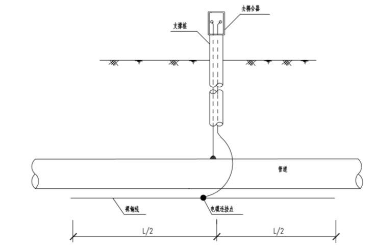
固態去耦(ou)合器(qi)安(an)裝示意圖(橫面)



固態去耦合器安裝示意圖(tu)(剖面)



Copyright ? 2017 河(he)南(nan)邦信防(fang)腐材料有限公司版(ban)權所(suo)有 All Rights Reserved. 技術支持:邦信防腐 流量統